Links to This Note1
공기 청정 비행선
원인이 뭐든, 누가 원인을 제공했든, 그런 것을 다 떠나서 그냥 고치면 좋겠다. 서울의 공기는 최악이다. 그냥 공기를 정화하는 비행선을 단체로 다같이 띄워 올려서 공기 정화를 시도해보면 어떨까. 그냥 하루 종일 대기 중에 떠다니며 미세먼지를 거르는 것이다. 누군가는 온갖 어려움을 무릅쓰고 반드시 성취해야 하는 프로젝트이다.
연관 자료
Can we build a giant blimp to clean polluted air?
충분히 가능하다. 자동차에서 볼 수 있는 것과 같은 거대한 촉매 변환기를 사용하여 하늘에 띄우면 된다. 하지만, 콜롬비아 대학의 환경 과학자인 피터 아이젠버거는 이것이 또 다른 대기 오염을 초래할 것이라고 말한다. 우리는 차이를 만들기 위해 이 저공비행 청소기들이 너무 많이 필요해서 하늘을 가득 채울 것이다.
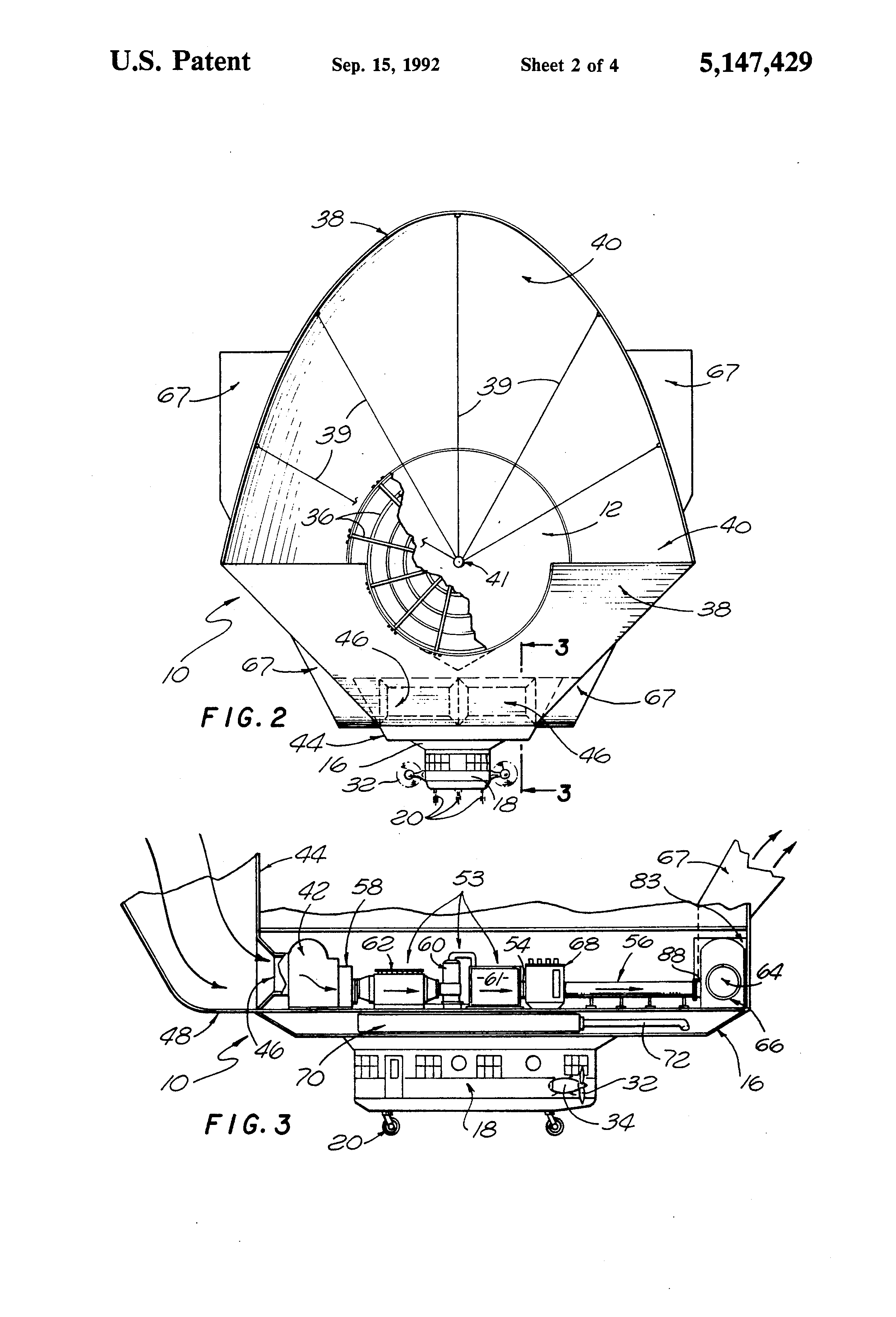
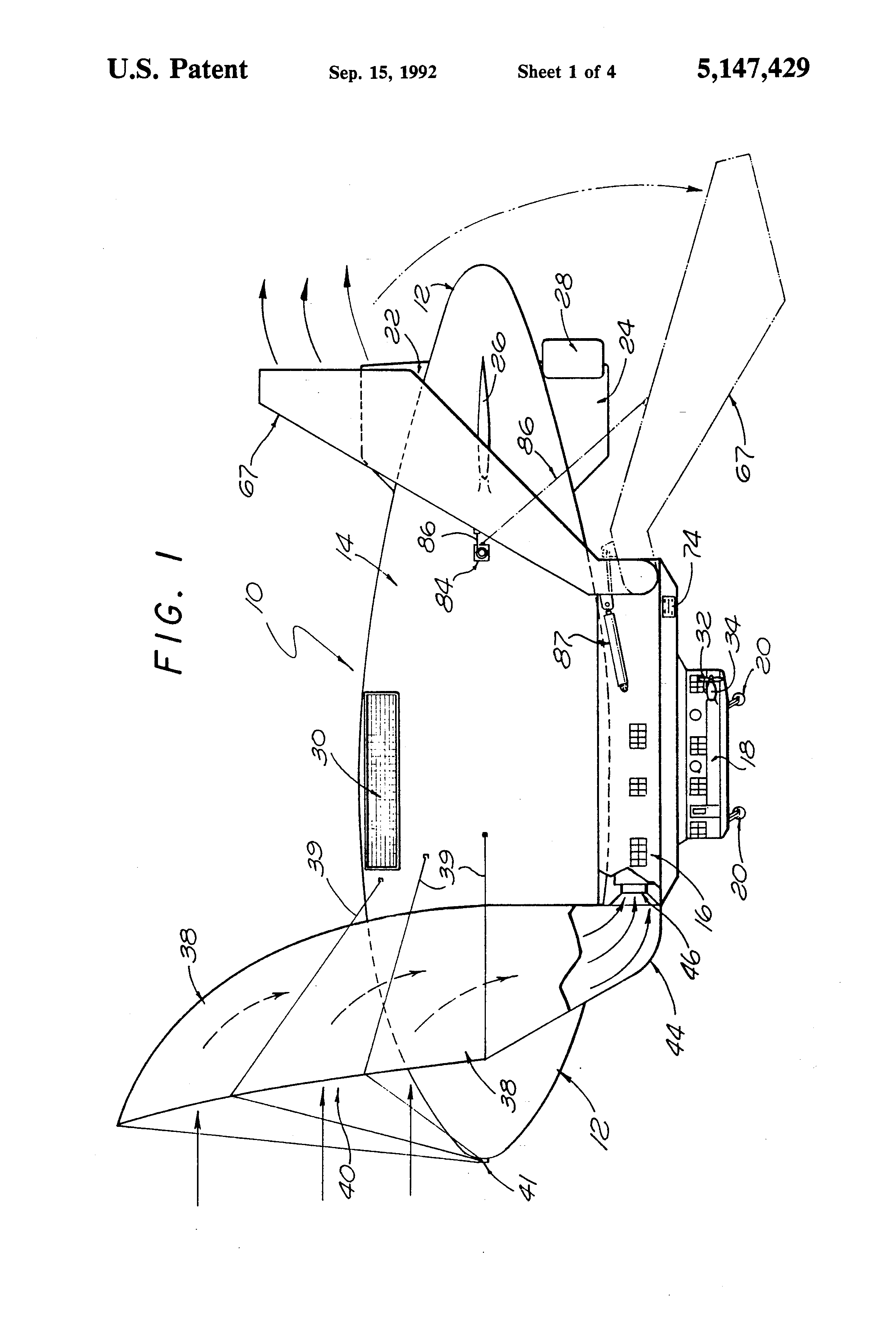
미국의 특허 US5147429A
US5147429A - Mobile airborne air cleaning station - Google Patents
공중 공기 청정 스테이션은 외부에 장착된 거대한 수집기 후드를 지지하는 유도체와 그 안에 다양한 유형의 공기 청정 장치가 포함된 확장 하우징을 특징으로 합니다. 수집기 후드는 오염된 주변 공기를 공기 흡입 시스템으로 유입시켜 온보드 공기 청소 장치를 수집기 후드와 유체 통신 상태로 만듭니다. 에어 클리닝 스테이션 내의 센서는 유입되는 공기 흐름을 분석하여 지역 대기에서 제거해야 할 오염 물질을 결정합니다. 그런 다음 자동 제어 시스템이 내장된 배관 시스템의 자동 밸브를 작동하여 들어오는 공기를 센서에 의해 감지된 특정 오염 물질을 제거하는 데 가장 적합한 공기 청정 장치로 보냅니다. 습식 스크러버, 여과기, 사이클로닉 스프레이 스크러버 등과 같은 다양한 공기 청정 장치를 포함하면 공기 청정 스테이션이 다양한 오염 물질을 처리하는 데 유리합니다. 공기 배기 시스템은 공기 청정 장치에 의해 정화된 공기를 대기로 다시 보냅니다. 이 작업은 기존의 정화된 공기 흐름을 원하는 방향으로 채널링할 수 있는 이동식 배기 덕트를 사용하여 수행되며, 따라서 출구 공기 흐름을 유도자의 2차 추진 소스로 활용할 수 있습니다.


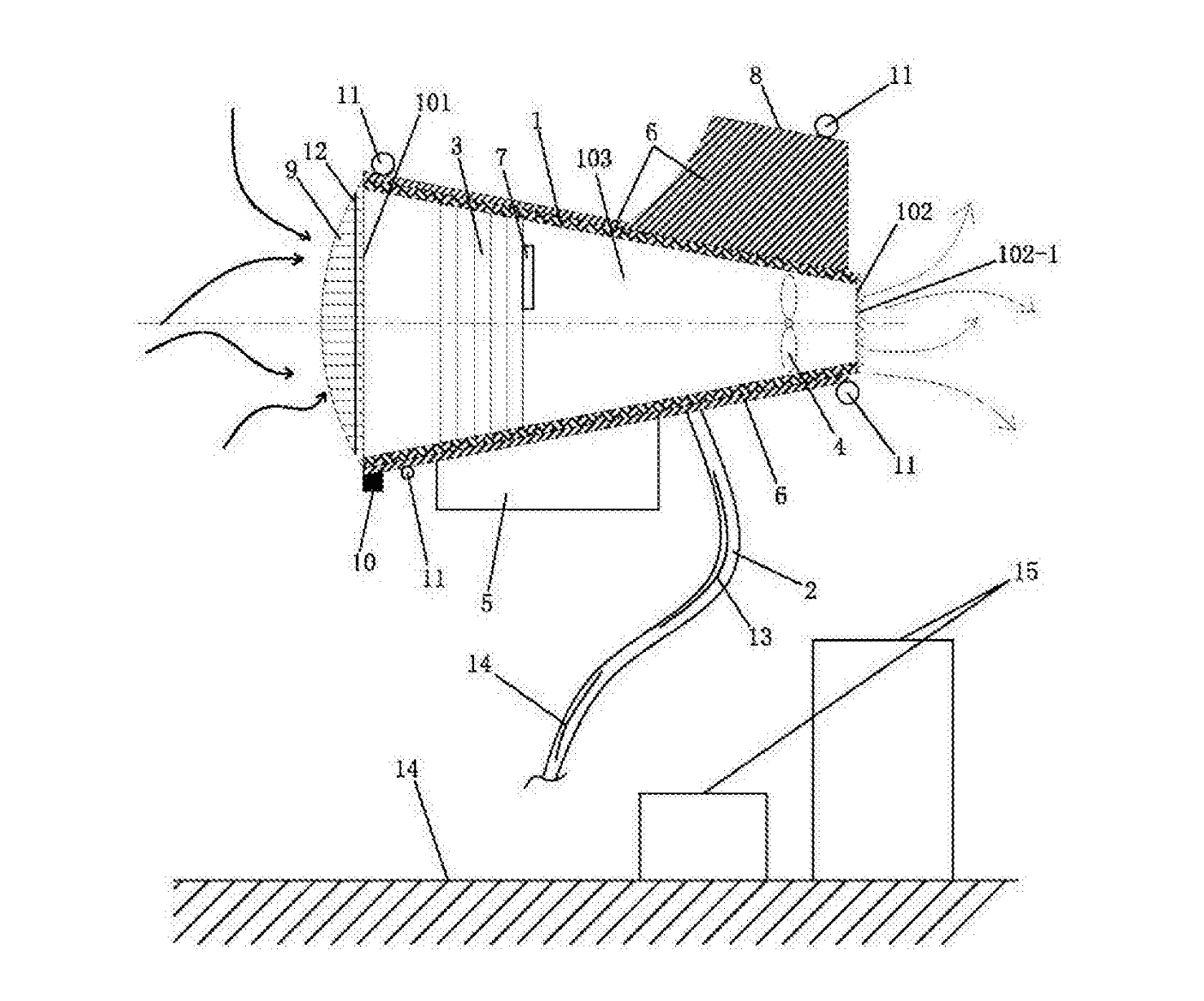
중국의 특허 CN204737020U
Air purification from electricity generation floats airship - Google Patents
목실용 신안은 자가발전 공기정화 부유비행선에 관한 것으로, 비행선 본체는 연결체를 통해 지면 또는 옥상과 연결되며, 비행선 본체의 양단에는 각각 공기흡입구와 공기출입구가 설치되어 있으며, 공기흡입구와 공기출구 사이의 비행선 본체는 플레어 모양의 안내정화실을 구성하고 있으며, 안내정화실의 단면적은 공기흡입구에서 공기출구 방향으로 점차적으로 연장되어 감소하며, 공기흡입구에 가까운 안내정화실에는 정전기흡착 공기정화장치가 설치되어 있으며, 공기출구에 가까운 안내정화실에는 풍력발전과 공기안내작용을 갖춘 부채날개가 설치되어 있습니다.
